
Ver video completo en mi canal de YouTube 🙂 ampliado con una breve introducción sobre la evolución de la cadena en la historia y su estructura.
SRAM ha registrado en los últimos meses una serie de solicitudes de patente que apuntan a rediseños significativos de la cadena (en particular un diseño de “medio eslabón ”y enlaces asimétricos) y a soluciones relacionadas con el conjunto transmisión (incluyendo mecanismos integrados en platos). El objetivo declarado en la documentación y en medios especializados es mejorar la velocidad y la fiabilidad del cambio, además de permitir nuevas arquitecturas de transmisión.
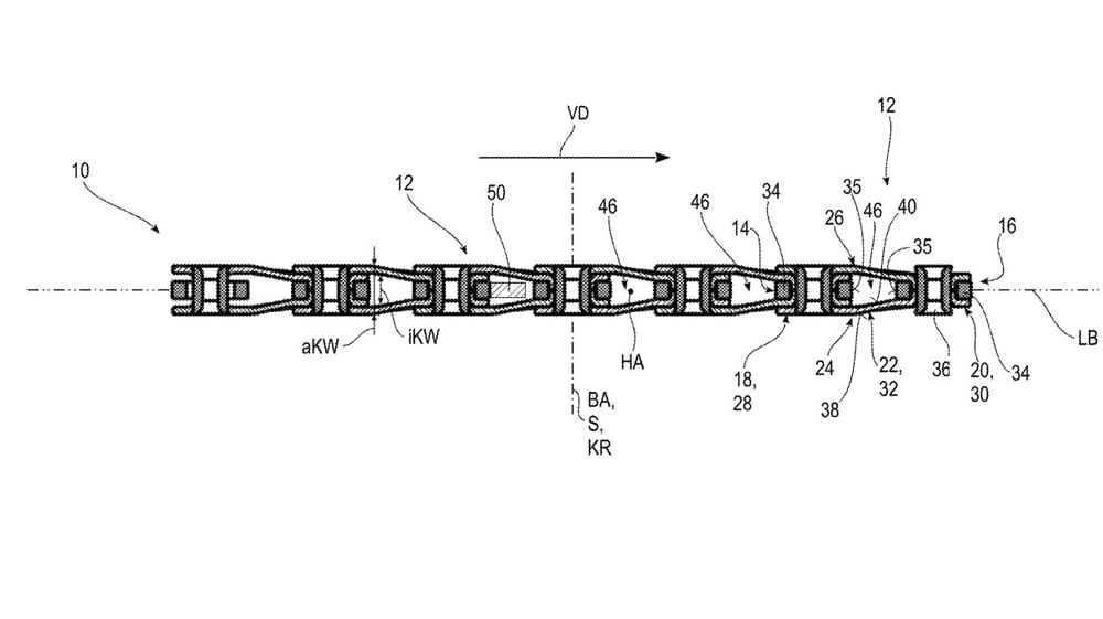
¿Qué propone la patente?
De forma resumida, la patente describe un diseño de cadena con eslabones parciales (medio eslabón ) y enlaces asimétricos que permiten:
- Paso de piñón a piñón más rápido y preciso debido a perfiles escalonados en los flancos del eslabón (mejor adaptación al perfil del diente).
- Orientación específica de eslabones (no todos los eslabones son simétricos) para gobernar la trayectoria de la cadena sobre los dientes y reducir saltos o enganches indeseados.
- En algunos documentos relacionados, integración del mecanismo de cambio en el conjunto de platos (desviadores “in-ring” o actuadores en el plato), lo que condiciona el diseño de la cadena para compatibilizar con ese mecanismo.
A continuación un diagrama esquemático textual que ilustra la idea principal de funcionamiento de los “half-links” y su interacción con un diente de piñón/chainring.

Dirección de avance ->
…-[O]–[=]–[O]–[=]–[O]–…
^ ^ ^
Outer Half Outer
plate link plate
– [O] = eslabón con perfil escalonado (encaja con diente)
– [=] = eslabón parcial (half-link) que reduce paso efectivo
– Al combinar, el «paso efectivo» puede ser la mitad del paso nominal, permitiendo cambios con resoluciones diferentes.
Análisis técnico detallado
Principio mecánico
- Half-link (eslabón parcial): un medio-eslabón altera el paso real de la cadena respecto a la norma ISO/ANSI. Al introducir media longitud de paso, se consigue una mayor resolución lateral de la cadena en relación al piñón; esto puede permitir cambios “más finos” o dobles posiciones por revolución. La patente de SRAM propone usar esto para doblar la velocidad efectiva de cambio (reivindicación aproximada).
Perfil de los flancos y enlaces asimétricos
- Enlaces asimétricos ayudan a guiar la cadena durante la transición entre piñones con menos dependencia de la guía externa (derailleur), reduciendo posibles saltos o desalineaciones. Los dibujos muestran flancos escalonados y superficies de contacto rediseñadas.
Compatibilidad y retro-compatibilidad
- Compatibilidad: es probable que un diseño de eslabón parcial/asimétrico necesite piñones con perfil adaptado; por tanto, la adopción plena requeriría cambios en piñonería o piezas específicas. Algunas patentes y notas hablan de nuevos platos con actuadores integrados, lo que sugiere un ecosistema cerrado.
- Retro-compatibilidad limitada: usar la cadena sola en piñones convencionales podría funcionar como una cadena normal, pero con degradación en prestaciones de cambio; la mejor performance aparece con componentes compatibles.

Ventajas
- Cambios más rápidos y/o más precisos (objetivo declarado).
- Posible reducción de la dependencia del ajuste fino del desviador para el cambio frontal/trasero si la cadena y platos están diseñados como sistema integrado.
Riesgos / Desventajas
- Ecosistema cerrado y coste de sustitución de piñonería.
- Compatibilidad reducida con transmisiones existentes; conversaciones legales en torno a patentes y conflictos con diseños previos (historia de litigios en componentes no es ajena a SRAM).
- Complejidad de fabricación y necesidad de controles dimensionales más rigurosos.
Implicaciones para la industria y usuarios.
- Si SRAM lanza productos comerciales basados en esta patente, podríamos ver grupos de transmisión cerrados (cadena + piñones + platos diseñados juntos) orientados a ofrecer ventajas en rendimiento para usuarios de alto nivel o para aplicaciones particulares (competición, entrenadores, e-bikes).
- Para fabricantes de bicicletas y aftermarket habrá necesidad de decidir entre adoptar el nuevo estándar (posible ventaja de rendimiento) o mantener compatibilidades abiertas.

Conclusión
La patente muestra evolución estratégica de SRAM más allá de componentes individuales: se observa interés por rediseñar la interfaz fundamental (la cadena) y, en algunos casos, integrar la electrónica/actuadores en componentes tradicionales (platos).
La propuesta técnica — medio eslabón y enlaces asimétricos— es plausible para mejorar la velocidad de cambio, pero su éxito comercial dependerá de compatibilidad, coste y aceptación por parte de la industria y usuarios.


